当前位置:
一体化水处理:本发明公开了一种橡塑生产工业污水成分检测装置,包括导轨和三号检测池,所述导轨的上表面设有卡槽,所述卡槽的上方设有一号检测池,且一号检测池的内表面设有固体悬浮物传感器,所述固体悬浮物传感器的上方设有联动轴,所述联动轴的一侧设有PH传感器,所述PH传感器的一侧设有金属离子传感器,所述联动轴的一端设有连接线。本发明所述的一种橡塑生产工业污水成分检测装置,设有固体悬浮物传感器、PH传感器和污水存样瓶,能够检测污水中的悬浮物含量,并能在一定范围内检测酸碱度,准确测量污水中的有机物含量,且能对检测的污水进行存样便于二次检测与对比污水数据,制定合理的治理方案,适用不同工作状况,带来更好的使用前景。

一体化水处理:权利要求书
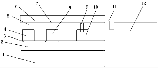
1.一种橡塑生产工业污水成分检测装置,包括导轨(2)和三号检测池(10),其特征在于:所述导轨(2)的下方设有底座(1),所述导轨(2)的上表面设有卡槽(3),所述卡槽(3)的上方设有一号检测池(4),且一号检测池(4)的内表面设有固体悬浮物传感器(5),所述固体悬浮物传感器(5)的上方设有联动轴(6),所述联动轴(6)的一侧设有PH传感器(7),且PH传感器(7)和联动轴(6)固定连接,所述一号检测池(4)的一侧设有二号检测池(8),所述PH传感器(7)的一侧设有金属离子传感器(9),所述联动轴(6)的一端设有连接线(11),所述三号检测池(10)的一侧设有显示面板(12),所述三号检测池(10)的内表面设有毛细软管(13),且毛细软管(13)的一侧设有液相色谱仪(14),所述液相色谱仪(14)的一侧设有污水存样瓶(15),所述三号检测池(10)通过卡槽(3)和导轨(2)活动连接。
2.根据权利要求1所述的一种橡塑生产工业污水成分检测装置,其特征在于:所述卡槽(3)的数量为三组,且卡槽(3)均为平行放置。
3.根据权利要求1所述的一种橡塑生产工业污水成分检测装置,其特征在于:所述固体悬浮物传感器(5)和联动轴(6)固定连接。
4.根据权利要求1所述的一种橡塑生产工业污水成分检测装置,其特征在于:所述联动轴(6)通过连接线(11)和显示面板(12)固定连接。
5.根据权利要求1所述的一种橡塑生产工业污水成分检测装置,其特征在于:所述毛细软管(13)和液相色谱仪(14)活动连接。
一体化水处理:说明书
一种橡塑生产工业污水成分检测装置
一体化水处理:技术领域
本发明涉及污水检测领域,特别涉及一种橡塑生产工业污水成分检测装置。
一体化水处理:背景技术
橡塑生产工业污水,指工艺生产过程中排出的污水和废液,其中含有随水流失的工业生产用料、中间产物、副产品以及生产过程中产生的污染物,是造成环境污染,特别是水污染的重要原因。按受污染程度不同,橡塑生产工业污水水可分为生产污水及生产污水两类。生产污水是指在使用过程中受到轻度污染或温度增高的水如设备冷却水,生产污水是指在使用过程中受到严重污染的水,大多具有严重的危害性。按橡塑生产工业污水中所含主要污染物的化学性质分类,可分为含无机污染物为主的无机污水、含有机污染物为主的有机污水、兼含有机物和无机物的混合污水、重金属污水、含放射性物质的污水和仅受热污染的冷却水。例如电镀污水和矿物加工过程的污水是无机污水,食品或石油加工过程的污水是有机污水。只有了解污水的成分才能更好采取相应的措施对橡塑生产工业污水进行治理。
现有的橡塑生产工业污水成分检测装置在使用时存在一定的弊端,检测重金属离子含量时,需要经过过滤和稀释,而忽略了固体悬浮物的检测,对样品进行一系列的处理后,无法对检测的污水进行存样便于二次检测与对比污水数据,给橡塑生产工业污水成分检测装置的使用带来了一定的影响,为此,我们提出一种橡塑生产工业污水成分检测装置。
一体化水处理:发明内容
本发明的主要目的在于提供一种橡塑生产工业污水成分检测装置,可以有效解决背景技术中的问题。
为实现上述目的,本发明采取的技术方案为:
一种橡塑生产工业污水成分检测装置,包括导轨和三号检测池,所述导轨的下方设有底座,所述导轨的上表面设有卡槽,所述卡槽的上方设有一号检测池,且一号检测池的内表面设有固体悬浮物传感器,所述固体悬浮物传感器的上方设有联动轴,所述联动轴的一侧设有PH传感器,且PH传感器和联动轴固定连接,所述一号检测池的一侧设有二号检测池,所述PH传感器的一侧设有金属离子传感器,所述联动轴的一端设有连接线,所述三号检测池的一侧设有显示面板,所述三号检测池的内表面设有毛细软管,且毛细软管的一侧设有液相色谱仪,所述液相色谱仪的一侧设有污水存样瓶,所述三号检测池通过卡槽和导轨活动连。
优选的,所述卡槽的数量为三组,且卡槽均为平行放置。
优选的,所述固体悬浮物传感器和联动轴固定连接。
优选的,所述联动轴通过连接线和显示面板固定连接。
优选的,所述毛细软管和液相色谱仪活动连接。
与现有技术相比,本发明具有如下有益效果:该橡塑生产工业污水成分检测装置,采用将所取水质的样品置于一号检测池中,并将一号检测池固定在卡槽上,防止碰撞洒落,渗入检测设备的内部,启动联动轴,固体悬浮物传感器开始对样品进行检测,改变了以往只检测金属离子而忽略固体悬浮物检测的弊端,经过固体悬浮物传感器检测的试样经过过滤操作,将所得液置于二号检测池中,启动联动轴,PH传感器开始对样品进行检测,PH传感器只有在一定的酸度范围内测量才比较准确,工业废水大多处在过酸或者过碱的条件下,都会破坏PH传感器所处的稳定环境造成的仪器的损坏,因此要对过滤后的试样进行稀释,稀释的倍数可以经过试纸大致测量后,根据计算得出,达到准确测量PH以及保护仪器的作用,污水存样瓶能够对检测的污水进行存样便于二次检测与对比污水数据,制定合理的治理方案,整个装置简单,操作方便,测量的效果相对于传统方式更好。
更多关于成都水处理设备的文章请关注:https://www.cdmmscl.com