名膜四川水处理设备有限公司!专注水处理设备生产销售,20000个客户的支持与信赖!
成都水处理设备

当前位置:

成都污水过滤沉淀吸附设备

来源:四川名膜 时间:2019-01-04 9:23:00 浏览:915

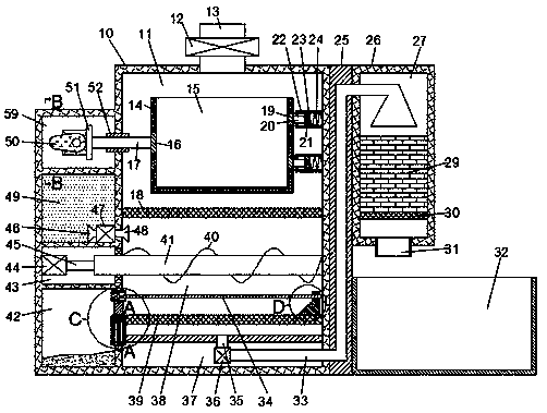
成都污水设备:本发明公开了一种便捷清理的污水过滤沉淀吸附设备,包括设备外壳,所述设备外壳上侧端面固定设有进水管,所述进水管上固定设有主阀门,所述设备外壳内部上顶壁设有过滤腔,所述过滤腔内部设有震动过滤装置,所述设备外壳内部设有位于所述过滤腔下侧的沉淀腔,所述沉淀腔内部设有清理装置,所述过滤腔与所述沉淀腔之间固定设有一号滤网。本发明结构简单,使用方便,实现了对废水处理中过滤,沉淀以及吸附的机械化与自动化,能对废水进行快速的净化处理,同时配有机械化的清理装置,能对沉淀池底部的沉淀进行清理,节省了人力,节约了清理时间,更加符合废水处理的实际需要,对废水处理的发展起到了推进作用。

 

  权利要求书

  1.一种便捷清理的污水过滤沉淀吸附设备,包括设备外壳,其特征在于:所述设备外壳上侧端面固定设有进水管,所述进水管上固定设有主阀门,所述设备外壳内部上顶壁设有过滤腔,所述过滤腔内部设有震动过滤装置,所述设备外壳内部设有位于所述过滤腔下侧的沉淀腔,所述沉淀腔内部设有清理装置,所述过滤腔与所述沉淀腔之间固定设有一号滤网,所述设备外壳内部设有位于所述沉淀腔下侧的下空腔,所述过滤腔左侧外壁设有第一动力腔,所述第一动力腔内设有动力装置,所述第一动力腔下底壁设有储料腔,所述储料腔下底壁设有第二动力腔,所述第二动力腔下底壁设有收集腔,所述设备外壳右侧端面固定设有固定板,所述固定板右侧端面固定设有吸附箱,所述吸附箱内部设有吸附腔,所述吸附腔内部设有吸附装置;

  所述震动过滤装置包括设于所述过滤腔中的滤网箱,所述滤网箱内部设有滤网腔,所述滤网腔左侧内壁固定设有一号连接块,所述滤网腔右侧内壁上下对称固定设有二号连接块。

  2.根据权利要求1所述的一种便捷清理的污水过滤沉淀吸附设备,其特征在于:所述过滤腔右侧内壁上下对称固定设有向左延伸的滑动箱,所述滑动箱内部设有滑动腔,所述滑动腔中滑动设有滑动块,所述滑动块右侧端面与所述滑动腔右侧内壁之间固定设有压缩弹簧,所述滑动块左侧端面固定设有向左延伸的一号连接轴,所述一号连接轴左侧末端穿过所述滑动箱左侧端面并固定设于所述二号连接块的右侧端面上,所述过滤腔左侧内壁固定设有左右延伸的贯通滑道,所述贯通滑道中滑动设有左右延伸的二号连接轴,所述二号连接轴右侧末端固定设于所述一号连接块的左侧端面上,所述二号连接轴左侧末端固定设有顶块。

  3.根据权利要求1所述的一种便捷清理的污水过滤沉淀吸附设备,其特征在于:所述动力装置包括固定设于所述第一动力腔后侧内壁的一号电机,所述一号电机前侧端面转动设有向前延伸的一号动力轴,所述一号动力轴前侧末端转动设于所述第一动力腔的前侧内壁上,所述一号动力轴上固定设有位于所述顶块左侧的凸轮,所述凸轮外圆端面与所述顶块左侧端面滑动接触。

  4.根据权利要求1所述的一种便捷清理的污水过滤沉淀吸附设备,其特征在于:所述储料腔下底壁固定设有一号泵,所述一号泵左侧端面固定设有吸料管,所述一号泵右侧端面固定设有穿过所述储料腔右侧内壁并向右延伸至所述沉淀腔中的喷料管;

  所述第二动力腔左侧内壁固定设有二号电机,所述二号电机右侧内壁转动设有向右延伸的二号动力轴,所述二号动力轴右侧末端固定连接有向右延伸并穿过所述第二动力腔右侧内壁的搅拌轴,所述搅拌轴末端转动设于所述沉淀腔右侧内壁上,所述搅拌轴外圆端面固定设有搅拌叶。

  5.根据权利要求1所述的一种便捷清理的污水过滤沉淀吸附设备,其特征在于:所述清理装置包括固定设于所述沉淀腔左侧内壁的第三动力箱,所述第三动力箱内部设有第三动力腔,所述第三动力腔左侧内壁固定设有三号电机,所述三号电机右侧端面转动设有向右延伸的三号动力轴,所述三号动力轴右侧末端固定连接有向右延伸并穿过所述第三动力腔右侧内壁的螺纹轴,所述螺纹轴右侧末端转动设于所述沉淀腔右侧内壁上,所述螺纹轴外圆端面设有螺纹,所述螺纹轴上螺纹配合连接设有内螺纹块,所述内螺纹块下侧端面固定设有清理块。

  6.根据权利要求1所述的一种便捷清理的污水过滤沉淀吸附设备,其特征在于:所述沉淀腔左侧内壁固定设有位于所述第三动力箱下方的电轨箱,所述电轨箱内部设有电轨腔,所述电轨腔上顶壁与下底壁之间左右对称固定设有电轨道,所述电轨道上滑动设有电轨滑块,所述电轨滑块之间固定设有向上延伸并穿过所述电轨腔上侧内壁的封闭门,所述电轨箱右侧端面与所述沉淀腔右侧内壁之间固定设有第二滤网,所述清理块滑动设于所述第二滤网上侧端面上。

  7.根据权利要求1所述的一种便捷清理的污水过滤沉淀吸附设备,其特征在于:所述沉淀腔下底壁固定设有向下延伸的出水管,所述出水管下侧末端固定设有位于所述下空腔中的二号泵,所述二号泵右侧端面固定设有向右延伸至所述固定板内部而后向上延伸而后向右延伸至所述吸附腔中的送水管,所述吸附装置包括固定设于所述吸附腔左右内壁之间的三号滤网,所述三号滤网上侧端面固定设有活性炭层,所述吸附腔下底壁固定设有向下延伸的龙头,所述固定板右侧端面固定设有位于所述龙头下方的储水池。

  说明书

  一种便捷清理的污水过滤沉淀吸附设备

  技术领域

  本发明涉及废水处理技术领域,具体为一种便捷清理的污水过滤沉淀吸附设备。

  背景技术

  废水处理一直是关系环境与民生的重要工程,废水处理一般以过滤,沉淀等方法为主,但传统的过滤与沉淀,耗时较长,同时由于沉淀物堆积在池底,会影响废水处理的终效果,而人工清理沉淀又十分费时费力,所以需要发明一种便捷清理的设备来用于废水的过滤沉淀处理。

  发明内容

  本发明的目的在于提供一种便捷清理的污水过滤沉淀吸附设备,用于克服现有技术中的上述缺陷。

  根据本发明的一种便捷清理的污水过滤沉淀吸附设备,包括设备外壳,所述设备外壳上侧端面固定设有进水管,所述进水管上固定设有主阀门,所述设备外壳内部上顶壁设有过滤腔,所述过滤腔内部设有震动过滤装置,所述设备外壳内部设有位于所述过滤腔下侧的沉淀腔,所述沉淀腔内部设有清理装置,所述过滤腔与所述沉淀腔之间固定设有一号滤网,所述设备外壳内部设有位于所述沉淀腔下侧的下空腔,所述过滤腔左侧外壁设有第一动力腔,所述第一动力腔内设有动力装置,所述第一动力腔下底壁设有储料腔,所述储料腔下底壁设有第二动力腔,所述第二动力腔下底壁设有收集腔,所述设备外壳右侧端面固定设有固定板,所述固定板右侧端面固定设有吸附箱,所述吸附箱内部设有吸附腔,所述吸附腔内部设有吸附装置;

  所述震动过滤装置包括设于所述过滤腔中的滤网箱,所述滤网箱内部设有滤网腔,所述滤网腔左侧内壁固定设有一号连接块,所述滤网腔右侧内壁上下对称固定设有二号连接块;

  在上述技术方案基础上,所述过滤腔右侧内壁上下对称固定设有向左延伸的滑动箱,所述滑动箱内部设有滑动腔,所述滑动腔中滑动设有滑动块,所述滑动块右侧端面与所述滑动腔右侧内壁之间固定设有压缩弹簧,所述滑动块左侧端面固定设有向左延伸的一号连接轴,所述一号连接轴左侧末端穿过所述滑动箱左侧端面并固定设于所述二号连接块的右侧端面上,所述过滤腔左侧内壁固定设有左右延伸的贯通滑道,所述贯通滑道中滑动设有左右延伸的二号连接轴,所述二号连接轴右侧末端固定设于所述一号连接块的左侧端面上,所述二号连接轴左侧末端固定设有顶块;

  在上述技术方案基础上,所述动力装置包括固定设于所述第一动力腔后侧内壁的一号电机,所述一号电机前侧端面转动设有向前延伸的一号动力轴,所述一号动力轴前侧末端转动设于所述第一动力腔的前侧内壁上,所述一号动力轴上固定设有位于所述顶块左侧的凸轮,所述凸轮外圆端面与所述顶块左侧端面滑动接触;

  在上述技术方案基础上,所述储料腔下底壁固定设有一号泵,所述一号泵左侧端面固定设有吸料管,所述一号泵右侧端面固定设有穿过所述储料腔右侧内壁并向右延伸至所述沉淀腔中的喷料管;

  所述第二动力腔左侧内壁固定设有二号电机,所述二号电机右侧内壁转动设有向右延伸的二号动力轴,所述二号动力轴右侧末端固定连接有向右延伸并穿过所述第二动力腔右侧内壁的搅拌轴,所述搅拌轴末端转动设于所述沉淀腔右侧内壁上,所述搅拌轴外圆端面固定设有搅拌叶;

  在上述技术方案基础上,所述清理装置包括固定设于所述沉淀腔左侧内壁的第三动力箱,所述第三动力箱内部设有第三动力腔,所述第三动力腔左侧内壁固定设有三号电机,所述三号电机右侧端面转动设有向右延伸的三号动力轴,所述三号动力轴右侧末端固定连接有向右延伸并穿过所述第三动力腔右侧内壁的螺纹轴,所述螺纹轴右侧末端转动设于所述沉淀腔右侧内壁上,所述螺纹轴外圆端面设有螺纹,所述螺纹轴上螺纹配合连接设有内螺纹块,所述内螺纹块下侧端面固定设有清理块;

  在上述技术方案基础上,所述沉淀腔左侧内壁固定设有位于所述第三动力箱下方的电轨箱,所述电轨箱内部设有电轨腔,所述电轨腔上顶壁与下底壁之间左右对称固定设有电轨道,所述电轨道上滑动设有电轨滑块,所述电轨滑块之间固定设有向上延伸并穿过所述电轨腔上侧内壁的封闭门,所述电轨箱右侧端面与所述沉淀腔右侧内壁之间固定设有第二滤网,所述清理块滑动设于所述第二滤网上侧端面上;

  在上述技术方案基础上,所述沉淀腔下底壁固定设有向下延伸的出水管,所述出水管下侧末端固定设有位于所述下空腔中的二号泵,所述二号泵右侧端面固定设有向右延伸至所述固定板内部而后向上延伸而后向右延伸至所述吸附腔中的送水管,所述吸附装置包括固定设于所述吸附腔左右内壁之间的三号滤网,所述三号滤网上侧端面固定设有活性炭层,所述吸附腔下底壁固定设有向下延伸的龙头,所述固定板右侧端面固定设有位于所述龙头下方的储水池;

  本发明的有益效果是:本发明结构简单,使用方便,实现了对废水处理中过滤,沉淀以及吸附的机械化与自动化,能对废水进行快速的净化处理,同时配有机械化的清理装置,能对沉淀池底部的沉淀进行清理,节省了人力,节约了清理时间,更加符合废水处理的实际需要,对废水处理的发展起到了推进作用。

更多关于成都水处理设备的文章请关注:https://www.cdmmscl.com

相关产品介绍