名膜四川水处理设备有限公司!专注水处理设备生产销售,20000个客户的支持与信赖!
成都水处理设备

当前位置:

成都污水处理用PVC管道

来源:四川名膜 时间:2021-06-22 21:42:24 浏览:1418

污水处理用PVC管道,包括管道组机构、排污分管和引气引流机构,管道组机构包括若干个排污管本体、连接环、第一连接槽、进水口和出水口,若干个排污管本体的一端均开设有第二连接槽,第一连接槽开设在连接环的表面上,连接环的剖视图呈工字形状,排污管本体的外表面与第一连接槽的内顶壁螺纹连接,涉及PVC管道领域。该污水处理用PVC管道通过设置特殊的结构引导水流和空气进行越位分压,将高压气体和高压水流通过越位分压的方式进行削弱,从而有效的解决了一般的PVC排污管道在使用的时候,容易受到管道内部污水相遇带来的空气压力增大、污水相遇撞击造成管内水压增大的影响,长期如此容易造成管道爆裂的问题。

 

  权利要求书

  1.一种污水处理用PVC管道,其特征在于:包括组合成整体PVC管道的管道组机构(1)、用于在管道各个局部位置接收污水的排污分管(2)和用于将气体和液体进行引导完成越位分压的引气引流机构(3);

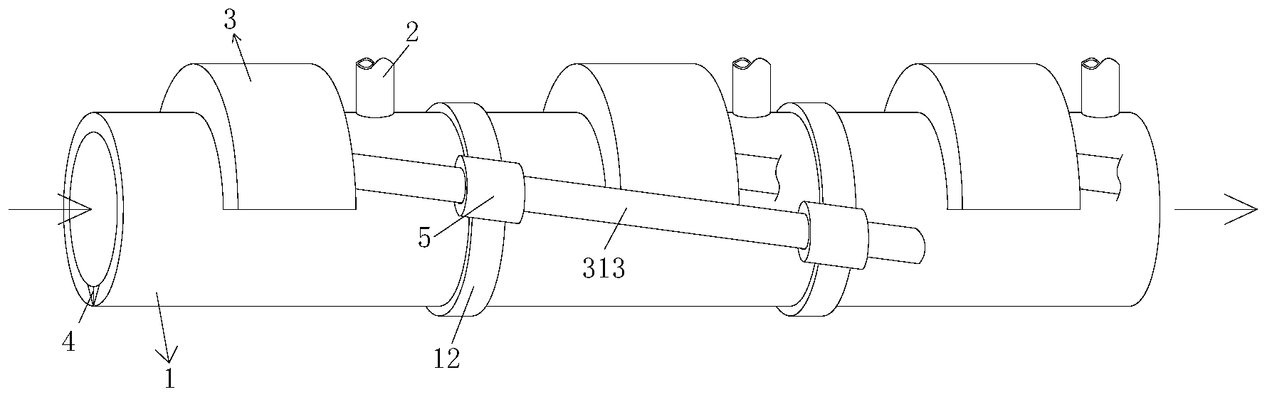
  所述管道组机构(1)包括若干个排污管本体(11)、连接环(12)、第一连接槽(13)、进水口(14)和出水口(15),若干个所述排污管本体(11)的一端均开设有第二连接槽(16),所述第一连接槽(13)开设在连接环(12)的表面上,所述连接环(12)的剖视图呈工字形状,所述排污管本体(11)的外表面与第一连接槽(13)的内顶壁螺纹连接,所述第二连接槽(16)的内顶壁与第一连接槽(13)的内底壁螺纹连接,所述排污管本体(11)的表面开设有若干个进污口(17),所述排污分管(2)的一端通过进污口(17)贯穿并延伸至排污管本体(11)的内部。

  2.根据权利要求1所述的一种污水处理用PVC管道,其特征在于:所述引气引流机构(3)包括弧形分压管(31)、分压安装口(32)、固定环(33)、弧形弹性板(34)、弧形固定板(35)、密封球(36)、密封套(37)、垂直压簧(38)、倾斜推簧(39)、流体分压口(310)、管内挡环(311)、连通分压管(312)和越位泄压管(313),所述弧形分压管(31)的表面与排污管本体(11)的表面固定连接,所述分压安装口(32)开设在排污管本体(11)上,所述弧形分压管(31)的内部与分压安装口(32)连通,所述固定环(33)的内壁与分压安装口(32)的内壁固定连接,所述弧形弹性板(34)的表面与固定环(33)的一端通过电焊固定连接,所述弧形固定板(35)的表面与固定环(33)的一端通过电焊固定连接,所述弧形弹性板(34)的表面与弧形固定板(35)的表面通过电焊固定连接。

  3.根据权利要求2所述的一种污水处理用PVC管道,其特征在于:所述弧形弹性板(34)和弧形固定板(35)固定连接后整体的仰视图呈圆形状,所述弧形弹性板(34)和弧形固定板(35)固定连接后形成有一个冲击口(314),所述冲击口(314)的内壁固定连接有密封环(315),所述密封球(36)位于弧形弹性板(34)和弧形固定板(35)之间,所述密封套(37)套设在密封球(36)的表面,所述垂直压簧(38)的一端与弧形分压管(31)的内顶壁固定连接,所述垂直压簧(38)的另一端与密封球(36)的表面固定连接,所述垂直压簧(38)位于冲击口(314)的正上方,所述倾斜推簧(39)的一端与弧形分压管(31)的内顶壁固定连接,所述倾斜推簧(39)另一端与密封球(36)的表面固定连接,所述倾斜推簧(39)的表面呈倾斜状,所述倾斜推簧(39)位于垂直压簧(38)的左侧,所述弧形固定板(35)的内壁开设有弧形搭槽(316),每一个所述排污管本体(11)上均开设有流体分压口(310),所述流体分压口(310)的水平高度比弧形分压管(31)的水平高度低,所述越位泄压管(313)的一端通过流体分压口(310)贯穿并延伸至排污管本体(11)的内部,所述越位泄压管(313)的另一端跨越至少一个排污管本体(11)与弧形分压管(31)的表面套接,所述管内挡环(311)的表面与排污管本体(11)的内壁固定连接,管内挡环(311)紧贴流体分压口(310)并与流体分压口(310)一一对应,每两个相邻弧形分压管(31)之间均通过连通分压管(312)相互连通。

  4.根据权利要求3所述的一种污水处理用PVC管道,其特征在于:若干个所述管道本体组合后,左侧一端为进水口(14),右侧一端为出水口(15),所述排污管本体(11)的表面设置有指向标记(4),所述指向标记(4)的尖端垂直向下指示,每一个所述排污管本体(11)上均设置有一个弧形分压管(31),所述弧形分压管(31)的表面呈半圆弧形状,所述弧形分压管(31)位于排污管本体(11)的上方。

  5.根据权利要求4所述的一种污水处理用PVC管道,其特征在于:所述弧形弹性板(34)的材料包括弹簧钢,所述弧形固定板(35)的材料包括不锈钢,所述密封环(315)的材料和密封套(37)的材料均包括橡胶,所述密封球(36)的直径比冲击口(314)的直径大。

  6.根据权利要求5所述的一种污水处理用PVC管道,其特征在于:所述弧形弹性板(34)位于弧形固定板(35)的左侧,所述弧形弹性板(34)的低水平位置比弧形固定板(35)的低水平位置高,所述连接环(12)的表面固定连接有连接圈(5),所述越位泄压管(313)的表面与连接圈(5)的内壁螺纹连接。

  说明书

  一种污水处理用PVC管道

  技术领域

  本发明涉及PVC管道技术领域,具体为一种污水处理用PVC管道。

  背景技术

  PVC管道在排污管道中是比较方便安装的一类管道,常被用作城市地下排污管道使用,PVC管道在使用的时候由于地下排污系统比较复杂,一些且管道之间连接起来后,若是一段排污管道正在进行排污,而另一段管道也正在面临快速通污的情况,尤其是后方的水势较快的时候,快速冲向前端的正在排水的一段管道,则在污水靠近的时候由于中间存在大量的空气,这些空气在狭窄的空间难以及时排出去会产生强大的气压,这个气压极有可能会冲爆管道,而且在两道水相遇的时候由于水势较大,管道内部水压也极容易在冲击的时候受阻瞬间达到极高峰,进而导致管道爆裂,这两种情况同时存在而且是城市PVC排污管道爆裂的主要原因之一,一般的PVC排污管道在使用的时候,容易受到管道内部污水相遇带来的空气压力增大、污水相遇撞击造成管内水压增大的影响,长期如此容易造成管道爆裂,所以需要一种污水处理用PVC管道。

  发明内容

  (一)解决的技术问题

  针对现有技术的不足,本发明提供了一种污水处理用PVC管道,解决了一般的PVC排污管道在使用的时候,容易受到管道内部污水相遇带来的空气压力增大、污水相遇撞击造成管内水压增大的影响,长期如此容易造成管道爆裂的问题。

  (二)技术方案

  为实现以上目的,本发明通过以下技术方案予以实现:一种污水处理用PVC管道,包括组合成整体PVC管道的管道组机构、用于在管道各个局部位置接收污水的排污分管和用于将气体和液体进行引导完成越位分压的引气引流机构;

  所述管道组机构包括若干个排污管本体、连接环、第一连接槽、进水口和出水口,若干个所述排污管本体的一端均开设有第二连接槽,所述第一连接槽开设在连接环的表面上,所述连接环的剖视图呈工字形状,所述排污管本体的外表面与第一连接槽的内顶壁螺纹连接,所述第二连接槽的内顶壁与第一连接槽的内底壁螺纹连接,所述排污管本体的表面开设有若干个进污口,所述排污分管的一端通过进污口贯穿并延伸至排污管本体的内部。

  优选的,所述引气引流机构包括弧形分压管、分压安装口、固定环、弧形弹性板、弧形固定板、密封球、密封套、垂直压簧、倾斜推簧、流体分压口、管内挡环、连通分压管和越位泄压管,所述弧形分压管的表面与排污管本体的表面固定连接,所述分压安装口开设在排污管本体上,所述弧形分压管的内部与分压安装口连通,所述固定环的内壁与分压安装口的内壁固定连接,所述弧形弹性板的表面与固定环的一端通过电焊固定连接,所述弧形固定板的表面与固定环的一端通过电焊固定连接,所述弧形弹性板的表面与弧形固定板的表面通过电焊固定连接。

  优选的,所述弧形弹性板和弧形固定板固定连接后整体的仰视图呈圆形状,所述弧形弹性板和弧形固定板固定连接后形成有一个冲击口,所述冲击口的内壁固定连接有密封环,所述密封球位于弧形弹性板和弧形固定板之间,所述密封套套设在密封球的表面,所述垂直压簧的一端与弧形分压管的内顶壁固定连接,所述垂直压簧的另一端与密封球的表面固定连接,所述垂直压簧位于冲击口的正上方,所述倾斜推簧的一端与弧形分压管的内顶壁固定连接,所述倾斜推簧另一端与密封球的表面固定连接,所述倾斜推簧的表面呈倾斜状,所述倾斜推簧位于垂直压簧的左侧,所述弧形固定板的内壁开设有弧形搭槽,每一个所述排污管本体上均开设有流体分压口,所述流体分压口的水平高度比弧形分压管的水平高度低,所述越位泄压管的一端通过流体分压口贯穿并延伸至排污管本体的内部,所述越位泄压管的另一端跨越至少一个排污管本体与弧形分压管的表面套接,所述管内挡环的表面与排污管本体的内壁固定连接,管内挡环紧贴流体分压口并与流体分压口一一对应,每两个相邻弧形分压管之间均通过连通分压管相互连通。

  优选的,若干个所述管道本体组合后,左侧一端为进水口,右侧一端为出水口,所述排污管本体的表面设置有指向标记,所述指向标记的尖端垂直向下指示,每一个所述排污管本体上均设置有一个弧形分压管,所述弧形分压管的表面呈半圆弧形状,所述弧形分压管位于排污管本体的上方。

  优选的,所述弧形弹性板的材料包括弹簧钢,所述弧形固定板的材料包括不锈钢,所述密封环的材料和密封套的材料均包括橡胶,所述密封球的直径比冲击口的直径大。

  优选的,所述弧形弹性板位于弧形固定板的左侧,所述弧形弹性板的低水平位置比弧形固定板的低水平位置高,所述连接环的表面固定连接有连接圈,所述越位泄压管的表面与连接圈的内壁螺纹连接。

  (三)有益效果

  (1)本发明在使用的时候利用水流的流动抽吸的力量抽取所有弧形分压管内部的气体,使得弧形分压管内部气体形成一定的负压,然后在水势较大的污水相遇的时候,在压力极大的时候,密封球被弹开,在水势相遇之前,中间的高压气体率先冲进负压的弧形分压管内部,然后在相互连通的弧形分压管中寻找压力较弱的位置通过越位泄压管和流体分压口随着水流排走,从而避免管道内部空气压强增大导致爆管的情况发生。

  (2)本发明在水势较大的污水相遇时,高压气体排放后,水势冲击,水压依旧较大的话会再次冲开密封球,水流随着倾斜的冲击口分流进入到弧形分压管内部,瞬间减轻管道内部水压,弧形分压管内部的水流从高处向低处流同样寻找压力较弱的位置通过越位泄压管和流体分压口排走,从而可以达到管道内部越位分压避免管道爆裂的效果。

  (3)本发明通过设置弧形弹性板和弧形固定板,弧形弹性板具有弹性在遇到高压的时候会被冲击形变并在形变的过程中通过冲击口将密封球推走,同时弧形弹性板形变会改变冲击口的形状,冲击口呈倾斜状,方便水引流。

  (4)本发明通过设置特殊的结构引导水流和空气进行越位分压,将高压气体和高压水流通过越位分压的方式进行削弱,从而有效的解决了一般的PVC排污管道在使用的时候,容易受到管道内部污水相遇带来的空气压力增大、污水相遇撞击造成管内水压增大的影响,长期如此容易造成管道爆裂的问题。

更多关于成都水处理设备的文章请关注:https://www.cdmmscl.com

相关产品介绍