名膜四川水处理设备有限公司!专注水处理设备生产销售,20000个客户的支持与信赖!
成都水处理设备

当前位置:

四川成都利用超细纤维净化水质用人工浮床系统及方法

来源:四川名膜 时间:2019-03-14 12:28:33 浏览:655

本发明公开了一种利用超细纤维净化水质的人工浮床系统,包括浮床、种植篮、种植篮填料、浮床植物、超细纤维立体人工水草、支撑框架、曝气增氧装置、微生物制剂以及箱体。本发明还公开了利用上述系统净化水质的方法:污水经过微孔曝气增氧,在超细纤维人工水草修复区,污水中的污染物被附着在超细纤维立体人工水草上的生物膜截留、吸附、分解。流经植物协同微生物修复区,水体中的污染物被植物根部和附着填料上的微生物吸收、代谢分解。投加微生物菌剂,利用微生物对水体中的氮、磷的有效吸附、转化和降解,抑制藻类繁殖,有效净化水体。本发明材料易得,建设、运行成本低,制作方便,既美化景观,又能改善水质,有良好的应用前景。

 

  权利要求书

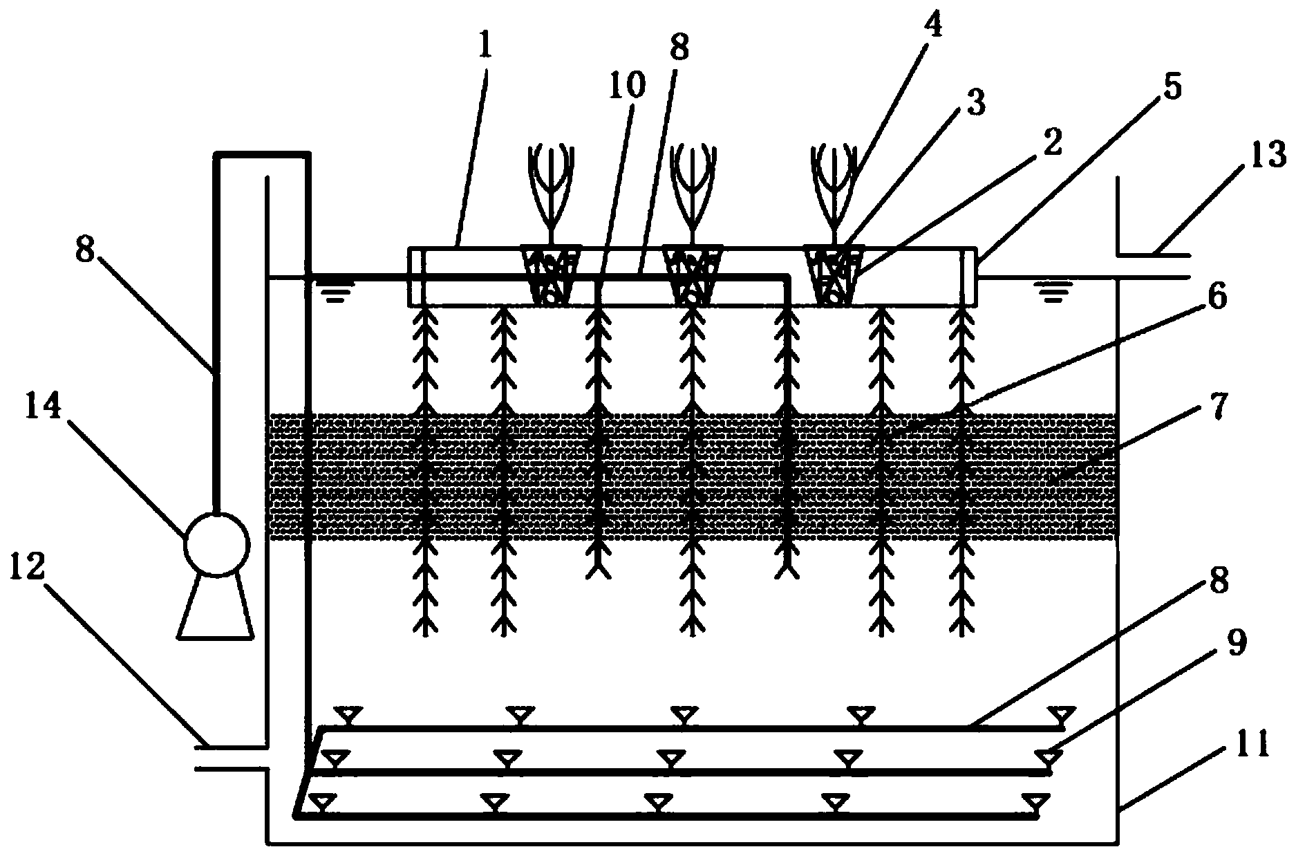
  1.一种利用超细纤维净化水质的人工浮床系统,包括箱体,其特征在于,所述箱体侧壁底部设有进水口,进水口所在侧壁的对侧壁顶部设有出水口;

  箱体底部设有曝气增氧区,曝气增氧区铺设有多列膜片式微孔曝气器,每列膜片式微孔曝气器通过曝气管与设于箱体外的旋涡鼓风机连通;

  所述曝气增氧区上方设有植物协同微生物修复区,所述植物协同微生物修复区包括至少1个支撑框架和设于支撑框架内的浮床,浮床和支撑框架浮于水面,所述浮床上表面间隔均匀开设有多个种植篮孔,种植篮孔内插有种植篮,种植篮内装有填料,且栽种有水生植物;

  所述支撑框架由多根多孔圆筒不锈钢管或者多孔烧结陶瓷管通过尼龙绳缠绕组合,设置在浮床外轮廓的四周,所述植物协同微生物修复区下方设有超细纤维人工水草修复区,所述超细纤维人工水草修复区包括多个间隔均匀竖直设置的超细纤维立体人工水草,所述超细纤维立体人工水草上端与支撑框架连接,使其围绕浮床设置;

  所述浮床下方还设有多个管式曝气器,所述多个管式曝气器竖直设置,且分别通过曝气管与所述旋涡鼓风机连通;所述管式曝气器上还缠绕有超细纤维立体人工水草。

  2.根据权利要求1所述的利用超细纤维净化水质的人工浮床系统,其特征在于,所述的填料由遗态材料制成。

  3.根据权利要求1所述的利用超细纤维净化水质的人工浮床系统,其特征在于,所述超细纤维人工立体水草由长度为5-15cm的超细纤维制成。

  4.根据权利要求1所述的利用超细纤维净化水质的人工浮床系统,其特征在于,所述箱体是由不锈钢材料或水泥材料制成。

  5.根据权利要求1所述的利用超细纤维净化水质的人工浮床系统,其特征在于,所述植物协同微生物修复区包括1个支撑框架和设于支撑框架内的浮床,浮床的种植篮内栽种有挺水植物,且所述浮床上、位于种植篮孔之间设有通气孔。

  6.根据权利要求1-5任一项所述的利用超细纤维净化水质的人工浮床系统,其特征在于,浮床正下方还设有1个第二浮床,所述第二浮床上表面通过2根可伸缩的连接杆与浮床下表面固定连接。

  7.根据权利要求6所述的利用超细纤维净化水质的人工浮床系统,其特征在于,所述第二浮床上表面间隔均匀开设有多个第二种植篮孔,所述第二种植篮孔内插有第二种植篮,第二种植篮内栽种有沉水植物,第二种植篮孔之间设有第二通气孔。

  8.根据权利要求7所述的利用超细纤维净化水质的人工浮床系统,其特征在于,所述第二浮床下方还设有生物吸附剂过滤网,所述生物吸附剂过滤网水平设于箱体内,且夹设有由沉水植物制成的生物吸附剂。

  9.一种利用权利要求1-5任一项所述的利用超细纤维净化水质的人工浮床系统来净化水质的方法,其特征在于,包括如下步骤:

  (a1)经过物理过滤的污水自箱体下部进水口进入利用超细纤维净化水质的人工浮床系统,旋涡鼓风机启动,空气从曝气管经过膜片式微孔曝气器和管式曝气器,使箱体内的污水增加污水溶氧量,调节污水的溶氧量不小于2mg/L,使污水得到曝气活化;

  (a2)经曝气活化后的污水向上流经超细纤维人工水草修复区,同时在污水中投放微生物菌剂,微生物菌剂在超细纤维人工立体水草上附着,微生物形成生物膜,被超细纤维立体人工水草缠绕的管式曝气器向污水中曝气,为附着在超细纤维人工立体水草上的微生物提供氧气,微生物与污水的底物不断接触,污水中的污染物被生物膜截留、吸附,转化和降解污水中的N、P元素,并作为微生物的营养源,在其生长繁殖过程中被消化,污水得以进一步净化;

  (a3)被微生物净化过后的污水继续向上流动,流经植物协同微生物修复区,污水中的污染物被种植在种植篮中的挺水植物和附着在种植篮中的填料上的微生物吸收、代谢分解,修复后的污水从箱体上部的出水口排出。

  10.一种利用权利要求8所述的利用超细纤维净化水质的人工浮床系统来净化水质的方法,其特征在于,包括如下步骤:

  (b1)经过物理过滤的污水自箱体下部进水口进入利用超细纤维净化水质的人工浮床系统,旋涡鼓风机启动,空气从曝气管经过膜片式微孔曝气器和管式曝气器,使箱体内的污水增加污水溶氧量,调节污水的溶氧量不小于2mg/L,使污水得到曝气活化;

  (b2)经曝气活化后的污水向上流经生物吸附剂过滤网,同时在污水中投放微生物菌剂,所述生物吸附剂过滤网内夹设有将沉水植物切碎后制得的生物吸附剂,可吸附污水中的污染物;然后污水经过第二浮床的沉水植物和附着在第二种植篮中的填料上的微生物吸收、代谢分解,完成初步净化;

  (b3)微生物菌剂在超细纤维人工立体水草上附着,微生物形成生物膜,被超细纤维立体人工水草缠绕的管式曝气器向污水中曝气,为附着在超细纤维人工立体水草上的微生物提供氧气,微生物与污水的底物不断接触,污水中的污染物被生物膜截留、吸附,转化和降解污水中的N、P元素,并作为微生物的营养源,在其生长繁殖过程中被消化,污水得以进一步净化;

  (b4)污水继续向上流动,污水中的污染物被种植在种植篮中的挺水植物和附着在种植篮中的填料上的微生物吸收、代谢分解,修复后的污水从箱体上部的出水口排出。

  说明书

  一种利用超细纤维净化水质的人工浮床系统及方法

  技术领域

  本发明涉及生物水处理设备技术领域,更具体的涉及一种利用超细纤维净化水质的人工浮床系统及方法。

  背景技术

  由于人口的剧增和工业的飞速发展,大量的N、P元素输入到水环境中,造成水体富营养化,赤潮水华频繁爆发。水体生态环境恶化,透明度下降,水生植物分布面积减少,群落结构趋向单一化,生态系统已相当脆弱。因此,水体生态环境的修复工作迫在眉睫。其中,人工浮床技术是一项被广泛应用的水环境修复技术。

  人工浮床又称生态浮床,是按照无土栽培技术原理,将改良的陆生植物或水生植物种植到污染水域水面上,利用植物和微生物的生长繁殖和新陈代谢,去除富集在水体中的N、P及有害物质,从而达到净化水质的效果。

  虽然生态浮床技术有良好的去除效果,但是生态浮床技术存在的一些问题也引起了人们的关注,如其去除效率容易受季节和浮床植物生长状况的影响、大量植物枯萎后的处置问题、水生植物的根系吸收污染物的能力有限等。因此,人工浮床技术需要进一步优化。

  发明内容

  本发明的目的在于克服现有技术存在的缺陷,提供一种利用超细纤维净化水质的人工浮床系统,该系统组成结构简单、无二次污染、操作简单,同时具有观赏和净化水质的双重作用。

  为了实现上述目的,本发明采用的技术方案如下:

  本发明的利用超细纤维净化水质的人工浮床系统,包括箱体,所述箱体侧壁底部设有进水口,进水口所在侧壁的对侧壁顶部设有出水口;

  箱体底部设有曝气增氧区,曝气增氧区铺设有多列膜片式微孔曝气器,每列膜片式微孔曝气器通过曝气管与设于箱体外的旋涡鼓风机连通;

  所述曝气增氧区上方设有植物协同微生物修复区,所述植物协同微生物修复区包括至少1个支撑框架和设于支撑框架内的浮床,浮床和支撑框架浮于水面,所述浮床上表面间隔均匀开设有多个种植篮孔,种植篮孔内插有种植篮,种植篮内装有填料,且栽种有水生植物;

  所述支撑框架由多根多孔圆筒不锈钢管或者多孔烧结陶瓷管通过尼龙绳缠绕组合,设置在浮床外轮廓的四周,所述植物协同微生物修复区下方设有超细纤维人工水草修复区,所述超细纤维人工水草修复区包括多个间隔均匀竖直设置的超细纤维立体人工水草,所述超细纤维立体人工水草上端与支撑框架连接,使其围绕浮床设置;

  所述浮床下方还设有多个管式曝气器,所述多个管式曝气器竖直设置,且分别通过曝气管与所述旋涡鼓风机连通;所述管式曝气器上还缠绕有超细纤维立体人工水草。

  优选地,所述超细纤维人工立体水草由长度为5-15cm的超细纤维制成。

  优选地,所述植物协同微生物修复区包括1个支撑框架和设于支撑框架内的浮床,浮床的种植篮内栽种有挺水植物,且所述浮床上、位于种植篮孔之间设有通气孔。

  本发明还提供一种利用上述系统净化水质的方法,包括如下步骤:

  (a1)经过物理过滤的污水自箱体下部进水口进入上述系统,旋涡鼓风机启动,空气从曝气管经过膜片式微孔曝气器和管式曝气器,使箱体内的污水增加污水溶氧量,调节污水的溶氧量不小于2mg/L,使污水得到曝气活化;

  (a2)经曝气活化后的污水向上流经超细纤维人工水草修复区,同时在污水中投放微生物菌剂,微生物菌剂在超细纤维人工立体水草上附着,微生物形成生物膜,被超细纤维立体人工水草缠绕的管式曝气器向污水中曝气,为附着在超细纤维人工立体水草上的微生物提供氧气,微生物与污水的底物不断接触,污水中的污染物被生物膜截留、吸附,转化和降解污水中的N、P元素,并作为微生物的营养源,在其生长繁殖过程中被消化,污水得以进一步净化;

  (a3)被微生物净化过后的污水继续向上流动,流经植物协同微生物修复区,污水中的污染物被种植在种植篮中的挺水植物和附着在种植篮中的填料上的微生物吸收、代谢分解,修复后的污水从箱体上部的出水口排出。

  优选地,上述装置的浮床的正下方还可加设1个第二浮床,所述第二浮床上表面通过2根可伸缩的连接杆与浮床下表面固定连接。

  优选地,所述第二浮床上表面间隔均匀开设有多个第二种植篮孔,所述第二种植篮孔内插有第二种植篮,第二种植篮内装有填料且栽种有沉水植物,第二种植篮孔之间设有第二通气孔。

  优选地,所述第二浮床下方还设有生物吸附剂过滤网,所述生物吸附剂过滤网水平设于箱体内,且夹设有由沉水植物制成的生物吸附剂。

  本发明的另一目的是提供一种利用上述含有第二浮床的装置来净化水质的方法,包括如下步骤:

  (b1)经过物理过滤的污水自箱体下部进水口进入上述系统,旋涡鼓风机启动,空气从曝气管经过膜片式微孔曝气器和管式曝气器,使箱体内的污水增加污水溶氧量,调节污水的溶氧量不小于2mg/L,使污水得到曝气活化;

  (b2)经曝气活化后的污水向上流经生物吸附剂过滤网,同时在污水中投放微生物菌剂,所述生物吸附剂过滤网内夹设有将沉水植物切碎后制得的生物吸附剂,可吸附污水中的污染物;然后污水经过第二浮床的沉水植物和附着在第二种植篮中的填料上的微生物吸收、代谢分解,完成初步净化;

  (b3)微生物菌剂在超细纤维人工立体水草上附着,微生物形成生物膜,被超细纤维立体人工水草缠绕的管式曝气器向污水中曝气,为附着在超细纤维人工立体水草上的微生物提供氧气,微生物与污水的底物不断接触,污水中的污染物被生物膜截留、吸附,转化和降解污水中的N、P元素,并作为微生物的营养源,在其生长繁殖过程中被消化,污水得以进一步净化;

  (b4)污水继续向上流动,污水中的污染物被种植在种植篮中的挺水植物和附着在种植篮中的填料上的微生物吸收、代谢分解,修复后的污水从箱体上部的出水口排出。

  优选地,调节步骤(a1)和步骤(b1)污水的溶氧量为2-4mg/L。

  优选地,所述填料由遗态材料制成。

  优选地,所述箱体是由不锈钢材料或水泥材料制成。

  优选地,所述浮床和第二浮床由可防腐的塑料制成。

  优选地,所述微生物菌剂为EM菌制剂。

  优选地,所述挺水植物为黄菖蒲、鸢尾、芦竹、芦苇、千屈菜、慈姑中的任意一种。

  优选地,所述沉水植物为黑藻、苦草、金鱼藻、马来眼子菜中的任意一种。

  发明由于采用了上述技术方案,具有以下有益效果:

  1、本发明采用种植篮加填料的种植方法,提高了种植的可靠性。同时,填料的材质为遗态材料,可以成为微生物的载体,在其表面和内部空隙内生长微生物膜,能降解水中的污染物。

  2、浮床下方的超细纤维立体人工水草,有极强的抗老化性,使用寿命在15年以上,部分缠绕在悬挂于浮床下方的管式曝气器上、部分直接悬挂于浮床下方。控制管式曝气器的曝气量,既使得附着在超细纤维立体人工水草上的微生物膜能正常生长,又能给附着在生物膜上的微生物生长提供充足的氧气,更利于微生物的生长,优化土著微生物菌群。超细纤维之间具有很多微细的孔隙,形成毛细管构造,具有高吸水性和极强的吸附能力,更有利于微生物的负载增殖。未缠绕在管式曝气器上超细纤维立体人工水草底部连接支撑框,组成一个笼式的超细纤维立体人工水草整体,随着水体流动而小幅度开回摆动,避免因水流过大而缠绕问题。

  3、利用超细纤维制成的人工水草可广泛应用于河流、湖泊、池塘等各类水体的生态环境修复,净化美化水体,不会影响水体的使用和观赏功能,且不受季节更替的影响,春夏秋冬一样发挥作用,也不会因为水生植物死亡腐烂,造成更严重的水体污染。

  4、本发明在位于水面的浮床上种植挺水植物,植物体内的新陈代谢作用可吸收污染物,分解污水中的N、P等元素,有利于水质的净化,也起到了景观美化的作用。其次,还可在浮床下方设置第二浮床,第二浮床的填料同样起到过滤污水、提供微生物生长空间的作用。第二浮床位于水面下,可栽种耐低氧的沉水植物,沉水植物有过滤污水、吸收污水中重金属、降低或去除COD、NH3-N、N、P等作用,加强水质净化效果。而可伸缩的连接杆可调节第二浮床与浮床的距离,灵活、适应性高。

  5、本发明的箱体内还可设置可拆卸的生物吸附剂过滤网,可将第二浮床的沉水植物收割切碎后,夹设于生物吸附剂过滤网内,可定期更换夹设的沉水植物。采用沉水植物制成生物吸附剂,能够保持生物吸附过程中的细胞活性,因而能够维持吸附能力,净化过程没有有害物的输出,既环保、成本低又效率高。也避免了植物死亡腐败后对水体造的二次污染。

  6、本发明的的水质净化方法,采用人工向污水投放微生物菌剂,增加水体中微生物的数量和活性,利用微生物对水体中的N、P元素进行有效吸附、转化和降解,强化修复水体自净功能,恢复生态平衡。

  7、采用本发明的装置及方法净化污水,CODcr的去除率高可达77.60%,TP去除率高可达84.91%,TN去除率高可达90.97%,NH3-N去除率高可达97.50%,CODCr和NH3-N浓度已达到I类标准,出水水质良好,污水净化效果明显。

  综上所述,本发明的装置材料易得,成本低,制作方便,使用寿命久。污水净化的方法简单、净化效果好,多次发生好氧、硝化、反硝化的作用,产生的污泥量少,简化了处理流程,同时又将污泥的二次污染减少到了低程度,处理效果好。

  而且,本发明的装置可以放于河涌或者湖泊污染水体中,利用曝气增氧的方式对污染水体进行植物和微生物修复;也可以用于陆地上,利用泵吸进污染水体进行植物和微生物修复,适用范围广,具有良好的社会效益,有广阔的市场推广前景。

更多关于成都水处理设备的文章请关注:https://www.cdmmscl.com

相关产品介绍